Aholming-Ölgartenweg 2012 Bauplatz Scheifl-Weinzierl Bild 330.JPG
IMG_5846.JPG
YUN00048.jpg

Stephansposching - Steinkirchen, Filialkirche St. Maria Magdalena

Die umfassende Renovierung der Steinkirchener Kirche St. Maria Magdalena im Jahre 1997 lieferte den Anlass zu einer umfassenden archäologischen Untersuchung des gesamten Innenraumes. Dadurch wurde es möglich, die Einschätzungen der Baugeschichte des Gotteshauses gründlich zu revidieren und um einen äußerst wichtigen Aspekt, den Nachweis einer um oder vor dem Jahr 1000 errichten Kirche, zu ergänzen.

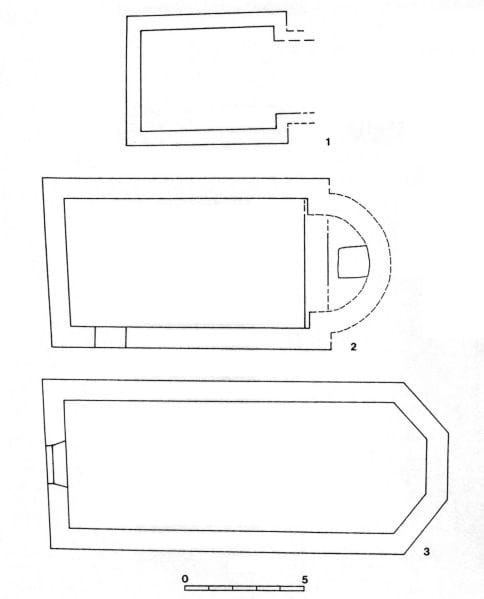
Bei dem ältesten entdeckten Befund handelt es sich um eine sehr kleine Saalkirche mit Rechteckchor. Die Innenmaße dieses ersten in Steinkirchen errichteten Sakralbaues, von dem nur noch Teile des Fundaments sowie mit Schutt verfüllte Ausbruchgräben existierten, liegen mit einer Fundamentbreite des Saales von etwa 60 cm bei 5,60 x 4,20 m, der Breite des Altarraumes bei 3,0 m. Seine Länge bleibt wegen erheblicher Störungen durch ein romanisches Fundament unbekannt, doch ist eine quadratische Form durchaus denkbar. Es fällt auf, dass die Fundamentbreite des Altarraumes gegenüber dem Saal mit etwa 40 cm um 20 cm geringer ist. Die Innenfläche des Saales erreicht also knapp 24 m².

Unsicher bleibt die Bauweise des Aufgehenden, da sowohl ein hölzerner Blockbau als auch Fachwerk in Frage kommen. Außerdem ist trotz der geringen Fundamentbreite sogar massives Mauerwerk in Erwägung zu ziehen. Die Datierung dieser frühen Kirche ist nicht durch einschlägiges Fundmaterial zu sichern, doch ein Vergleich mit anderen einschlägigen Befunden in Südbayern und die Überprägung durch romanisches Mauerwerk lässt keinen Zweifel an einer Entstehung um oder vor 1000 aufkommen. Damit ist für Steinkirchen ebenso wie für Deggendorf (Mariä Himmelfahrt), Rettenbach und Stephansposching eine außerordentlich frühe Kirche nachgewiesen.

Ganz wichtig ist auch die Tatsache, dass zur ältesten Kirche ein Bestattungsplatz gehörte. Bei der Außensanierung von 1981 und bei den erneuten Fundamentfreilegungen von 1998 kamen menschliche Skelettreste, darunter ein geostetes Skelett unter dem heutigen Eingangsbau im Westen, zutage. Allem Anschein nach steht die heutige Kirche im Bereich eines Gräberfeldes, dessen Zeitstellung zwar mangels einschlägigen Fundmaterials nicht sicher anzugeben ist, eine Belegung etwa ab dem 8. Jahrhundert aber möglich erscheint.

Die Saalkirche mit Rechteckchor wurde etwa um 1200 bis auf die untersten Reste des Fundaments abgebrochen und durch einen Neubau mit halbrunder Apsis und massivem Spannfundament ersetzt. Von diesem aus Bruchsteinen errichteten Bau stehen heute noch die Wände des Langhauses, während die Apsis, in der auch noch ein Altarfundament erhalten blieb, nur als Grabungsbefund im Fundamentbereich gesichert werden konnte. Die Ausmaße des Langhauses liegen bei ca. 10,0 x 5,4 m, die um etwa 70 cm einziehende Apsis besitzt ein rekonstruiertes Innenmaß von ca. 4 m Breite. Die äußere Gesamtlänge beträgt 14,40 m, das aufgehende Mauerwerk zeigt eine durchschnittliche Stärke von 90 cm. Der zugehörige 1,30 m breite Eingang befindet sich an der Südwand, einen Meter östlich der Südwestecke. Während für das Kirchenschiff eine Holzdecke anzunehmen ist, könnte die Apsis auch gewölbt gewesen sein.

Das heutige Erscheinungsbild der Kirche mit polygonalem Altarraum entstand im 17./18. Jahrhundert, als die romanische Apsis abgebrochen und durch den heutigen Chor ersetzt wurde.

Die kleine Kirche mit umgebendem Friedhof befindet sich wiederum innerhalb einer aus drei massiven Gräben gebildeten Befestigung, die den Geländesporn zwischen der Donau und einem kleinen Seitentälchen abriegelt. Das gesamte Ensemble, von dem uns keine einzige Schriftquelle berichtet, kann nur als bairischer Verwaltungssitz gedeutet werden, der wiederum mit Fiskalgut in Verbindung steht, das sich von dem im Bereich der Befestigung gelegenen römischen Numeruskastell samt Vicus ableitet. Einen weiteren Hinweis auf die besitzrechtlichen Verhältnisse liefert das als Indiz für die Übernahme römischen Staatseigentums durch den bairischen Herzog geltende Laurentiuspatrozinium in dem nur einen knappen Kilometer entfernten Bergham. Auch dort konnte die Kreisarchäologie Deggendorf 1994 eine Grabung vornehmen, doch gelang hier kein Nachweis einer vorromanischen Kirche.

Literatur

Seitenanfang

Cookie-Einstellungen

Wir verwenden Cookies, um Ihnen ein optimales Webseiten-Erlebnis zu bieten. Dazu zählen Cookies, die für den Betrieb der Seite notwendig sind, sowie solche, die lediglich zu anonymen Statistikzwecken, für Komforteinstellungen oder zur Anzeige personalisierter Inhalte genutzt werden. Sie können selbst entscheiden, welche Kategorien Sie zulassen möchten. Bitte beachten Sie, dass auf Basis Ihrer Einstellungen womöglich nicht mehr alle Funktionalitäten der Seite zur Verfügung stehen.


Weitere Informationen finden Sie in unseren Datenschutzhinweisen.

Diese Seite verwendet Personalisierungs-Cookies. Um diese Seite betreten zu können, müssen Sie die Checkbox bei "Personalisierung" aktivieren.